我看到@xleaks7 在 X 平台发布推文,曝料称美国专利商标局(USPTO)上月批准一项华为专利,华为提出通过驱动电机调整相机组件与传感器的距离,保持手机纤薄设计同时,提升长焦镜头变焦性能。
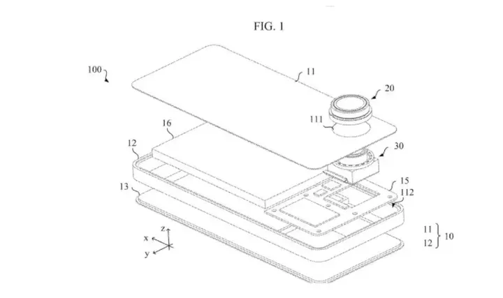
过去五六年,智能手机摄像头模块的体积和凸出程度持续增加,打破了早期镜头与机身平齐的设计美感,华为最新专利提出了创新解决方案,减少凸起程度。该专利提出通过驱动电机移动相机组件,调整其与图像传感器之间的距离,从而提升长焦镜头的变焦性能。
传统“潜望式镜头”虽能实现类似效果,但需使用棱镜和镜面,常导致手机厚度增加。而华为的新方案可在不牺牲纤薄设计的前提下,提供更高质量的长焦拍摄效果。相机组件在不使用时可隐藏于机身内部,确保手机外观简洁。演示效果图如图3: 





—— 请到米拍APP查看更多大片 ——
扫码参与讨论 玩摄影,上米拍
